{{alert.message}}

wieringermeer wipper thvz

Artikelnummer: 00332865
EAN: 8714318008802

3-7 werkdagen
  • Wipper tbv klinkstel
  • Therm.verzinkt
1 Stuk
644,00

579,60

incl. btw 701,32

Productomschrijving

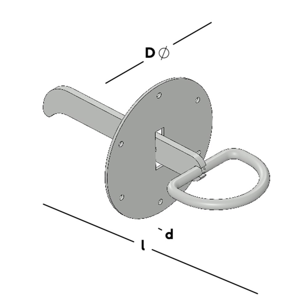
Sluiting t.b.v. staldeur met aan één kant een klink en de andere kant een ringkruk.

Technische gegevens

slobgaten2/9x9mm
gatenpatroon6/4-2/5,5mm
overige maatvoeringenmet plaatneus KVP

Gerelateerde producten